The tease of 2013 has to be Kawasaki and its supercharged four-cylinder engine, which the Japanese OEM debuted at this year’s Tokyo Motor Show. Showing the engine, and giving virtually no information about the intended uses of the supercharged power plant, we have been left to speculate over what Kawasaki’s intentions are in the two-wheeled forced-induction realm.
Diving through the Google’s database of patent applications though, we see that over the years Kawasaki has published a number of patents that relate to adding a supercharger to a motorcycle. Not only has Kawasaki been thinking about how to fit a supercharger into a motorcycle for some time now, but the OEM has some clever tricks up its sleeve in order to optimize its designs.
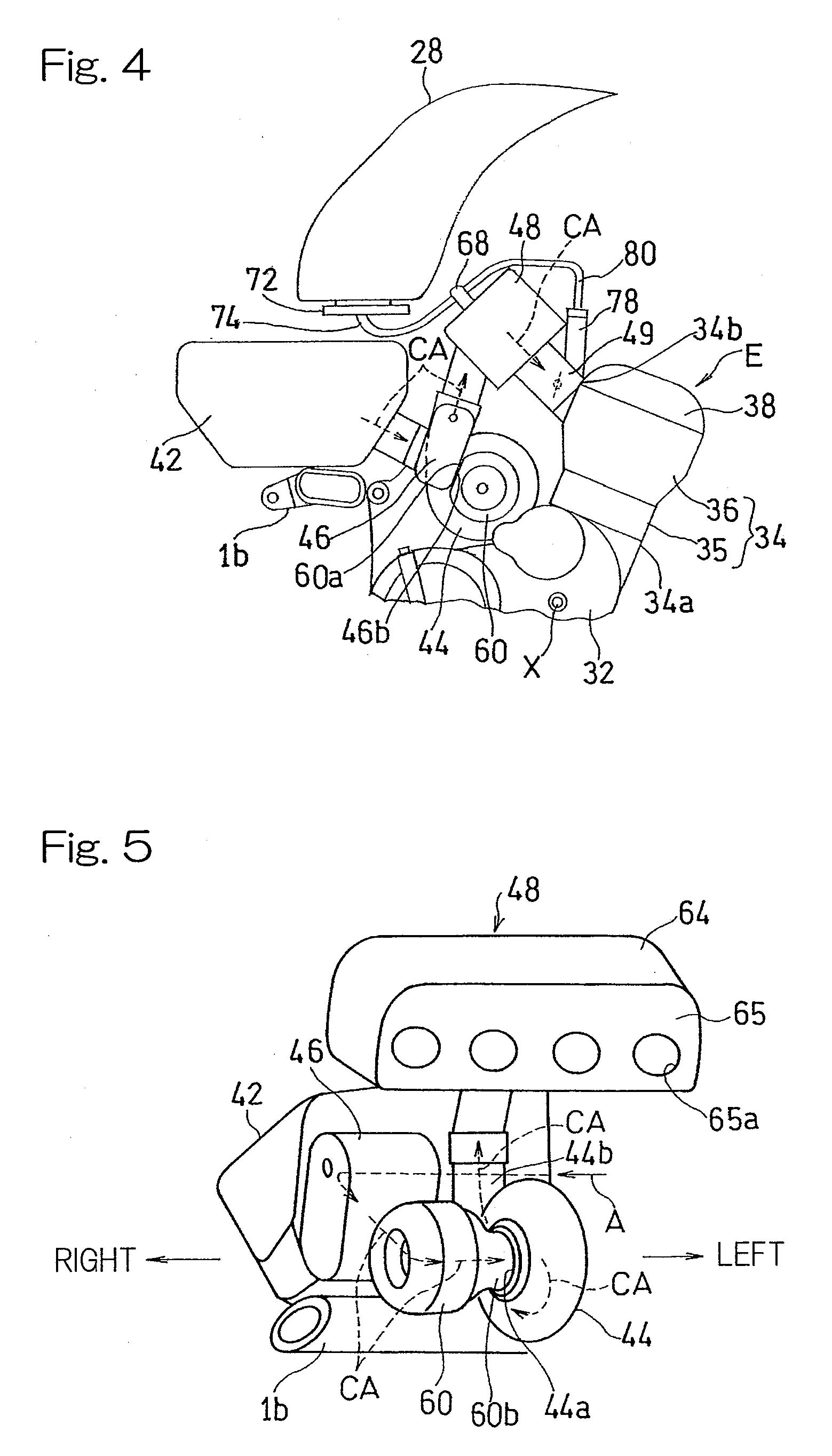
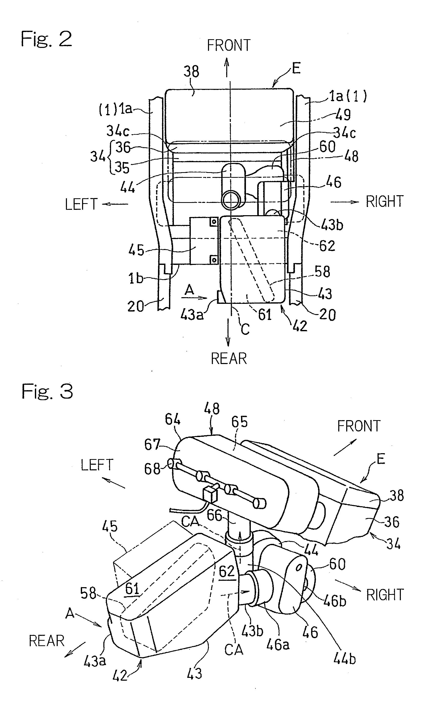
The most pertinent filing is for an “engine supercharging device” as it deals mainly with creating a compact engine and supercharging unit — one of the bigger hurdles to overcome when applying a supercharger to a motorcycle engine.
Though the patent’s drawings and main premise is to apply these design techniques to a motorcycle, the patent’s claims are left sufficiently broad to apply the principles to any motor. In the application, Kawasaki describes the placement of the supercharger system as follows:
- In a preferred embodiment of the present invention, a rotary shaft of the engine may extend in a direction laterally of an engine body, and a casing for the air cleaner and the intake air chambers are preferably arranged above the engine body. In such case, the supercharger is preferably arranged below the casing for the air cleaner and the intake air chamber, and the purified air supply passage may be arranged at a location adjacent one lateral side of the engine body. In such case, and the supercharged air passage is preferably arranged at a location laterally intermediate of the engine body with respect to the purified air supply passage. Here, the term “engine body” referred to above shall be construed as meaning a portion of the combustion engine which includes a crankcase, a cylinder block, a cylinder head, a cylinder head cover and an oil pan and shall not be construed as including an air intake system, an exhaust system and a transmission. According to this structure, since the supercharged air passage and the air supply passage are juxtaposed laterally relative to each other, the space can be utilized further efficiently.
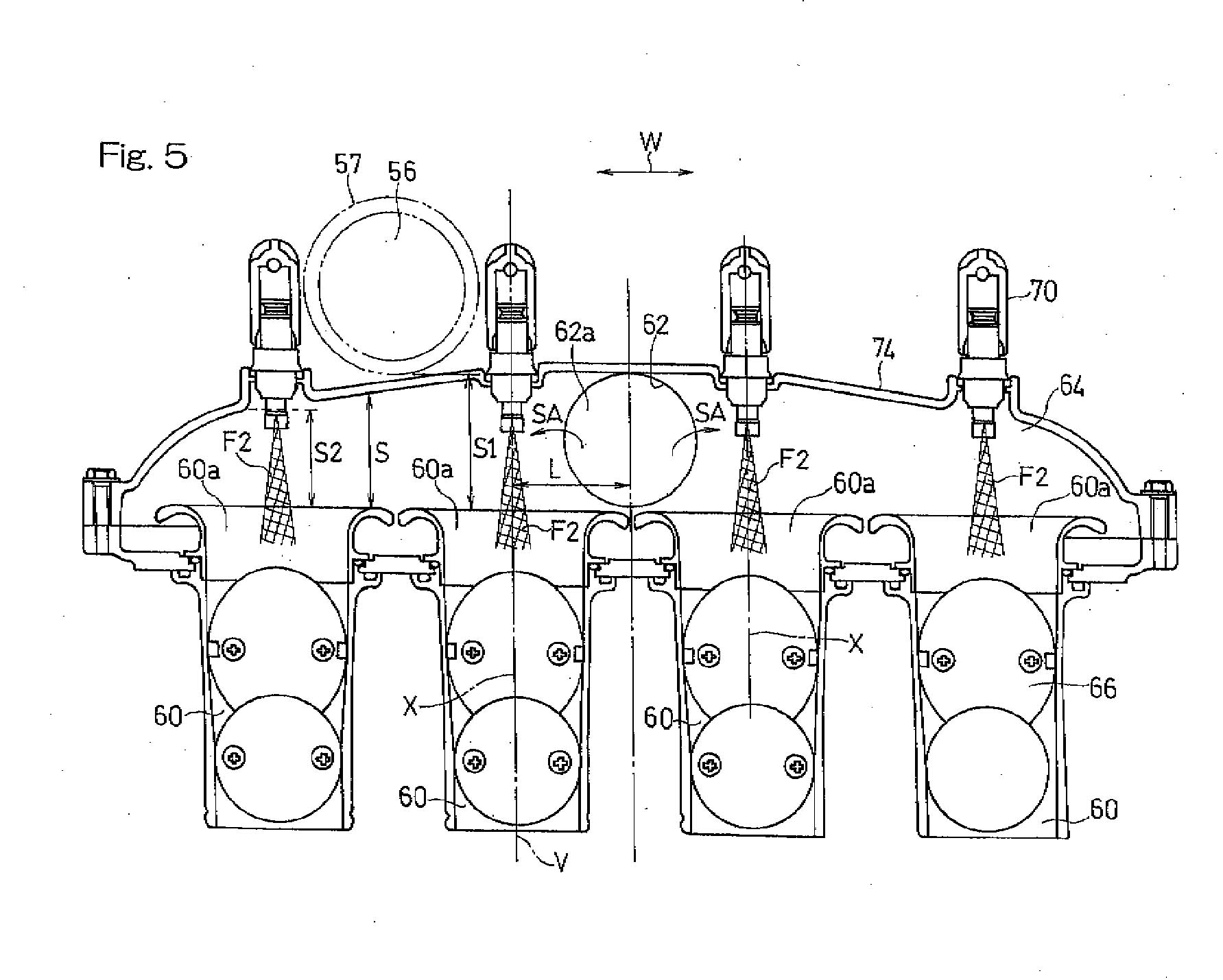
- In another preferred embodiment of the present invention, an additional fuel supply device for supplying an additional fuel towards an inlet of the air intake passage may be mounted on the intake air chamber. The use of the additional fuel supply device is effective to lower the temperature of the air inside the intake air chamber through the injection of the additional fuel.
- In a further preferred embodiment of the present invention, respective inlets of the intake passages leading to the associated engine cylinders may be arranged in a row extending in a predetermined direction, in which case relative to an outlet of the supercharged passage opening into the intake air chamber, the larger the distance from the outlet to the inlet of the air intake passage, the smaller the cross-sectional area of the passage, or the passage sectional area, at a portion where the inlet of the air intake passage confronts within the intake air chamber. Here, the wording “a portion where the inlet of the air intake passage confronts” referred to above is intended to mean a portion contained in the imaginary plane containing an axis of the inlet of the air intake passage and lying perpendicular to the predetermined direction. According to this structure, the amount of air flowing gradually decreases as it goes away from the outlet of the supercharged air passage and, therefore, the air flow amount and the passage sectional area becomes balanced, facilitating a smooth flow of the air. Also, since the passage sectional area is small at a location away from the outlet of the supercharged air passage, the purified air supply passage, for example, can be arranged in a space made available as a result of reduction of the passage sectional area.
- Also, in the supercharging device for the engine according to the present invention, the engine is mounted on a motorcycle, and at least one of the air cleaner and the purified air supply passage preferably covers an area above at least a portion of the supercharged air passage. According to this structure, it is possible to easily accommodate the outlet of the relief valve, provided in the supercharged air passage, within the purified air supply passage or the air cleaner thereabove.
- In a still further preferred embodiment of the present invention, a transmission may be arranged rearwardly of the engine body and the supercharger is arranged rearwardly of the forwardly tilted cylinder block, in which case the intake air chamber is arranged above the supercharger and the air cleaner is arranged above the cylinder block. According to this structure, the supercharger and the intake air chamber can be arranged within the dead space available rearwardly and above the forwardly tilted cylinder block, respectively.
- Where the supercharger is arranged rearwardly of the cylinder block, the supercharger is preferably driven by a rotary shaft of the engine through a chain. According to this structure, since the supercharger becomes proximate to the rotary shaft of the engine, the chain suffices to have a small length
- Where the intake air chamber is employed, the air cleaner preferably covers an area above a portion of the intake air chamber and the relief valve is arranged in that portion. According to this structure, the relief valve can be easily connected with the air cleaner and the intake air chamber.
Kawasaki specifically applies this patent to a motorcycle engine configuration in a later patent, titled “two-wheeled motor vehicle with supercharger” which was filed just over a month after the previous broadly-worded patent.
The patent lists several ways the number of parts for the engine and supercharger can be reduced, as well as how the components can be arranged in order to maximize space efficiency. It’s main descriptions are as follows:
- According to the structure, since the supercharger and the air cleaner unit are disposed rearwardly of the cylinder block and, hence, the both can be connected directly with each other, the use of any intermediate piping can be dispensed with and the space around the combustion engine is therefore saved and the number of component parts can be reduced, thus simplifying the structure.
- In another preferred embodiment of the present invention, the air cleaner unit may be disposed rearwardly of the supercharger. The disposition of the air cleaner unit in this way is effective to realize the shortest possible intake passage extending from the air cleaner unit to the combustion engine by way of the supercharger at a location rearwardly of the combustion engine. Also, since the supercharger intervenes between the air cleaner unit and the combustion engine with the air cleaner unit accordingly spaced a distance from the combustion engine, an air of a relatively low temperature, which is substantially free from thermal influences brought about by heat radiation from the combustion engine, can be introduced into the air cleaner unit, resulting in an increase of the air intake efficiency.
- In the construction in which the air cleaner unit is disposed rearwardly of the supercharger, a surge tank may be disposed rearwardly upwardly of the cylinder block of the combustion engine and above the supercharger.
- In the conventional structure in which the air cleaner unit is disposed above the combustion engine, an intermediate pipe for fluidly connecting between the air cleaner unit and the supercharger is disposed rearwardly upwardly of the combustion engine and, therefore, it has been difficult for a surge tank to have a sufficient capacity. In contrast thereto, the positioning of the surge tank at a location rearwardly upwardly of the cylinder block is effective to secure a sufficient space at a site rearwardly upwardly of the combustion engine and, therefore, the surge tank disposed at that position can have an increased capacity.
- In the structure in which the air cleaner unit is disposed rearwardly of the combustion engine, a fuel tank is preferably disposed above the combustion engine, the supercharger and the air cleaner unit. According to the positioning of the fuel tank in this way, since the air cleaner unit hitherto disposed above the combustion engine is disposed rearwardly of the supercharger, the space above the combustion engine can be secured in a quantity corresponding to a space required to accommodate the air cleaner unit and an intermediate pipe between the air cleaner and the supercharger and, therefore, the fuel tank can have an increased capacity.
- In the structure in which the air cleaner unit is disposed rearwardly of the combustion engine, an air control valve unit for adjusting an amount of the air to be supplied to the supercharger may be disposed intermediate between the supercharger and the air cleaner unit. In this case, at least a portion of the air control valve unit, when viewed from side, is preferably so disposed as to overlap the supercharger.
- According to the structural features described above, since the air cleaner unit, the air control valve unit and the supercharger are disposed rearwardly of the cylinder block, the space can be secured above the combustion engine while a supercharging pressure of the supercharger is adjusted by the air control valve unit. In particular, when viewed from side of the motorcycle body, the positioning of at least a portion of the air control valve unit referred to above so as to overlap the supercharger is effective to allow the supercharger and the air control valve unit to be disposed by the effective utilization of the space available between the cylinder block and the air cleaner unit and, therefore, the space around the combustion engine can be further saved.
- Where the air cleaner unit is disposed rearwardly of the supercharger as hereinabove described, the air cleaner unit is preferably disposed above a crossbar in a main frame of a motorcycle body. According to this structural feature, the air cleaner unit is disposed within the space available above the crossbar and, therefore, the capacity of the air cleaner unit can be increased.
- In another preferred embodiment of the present invention, the air cleaner unit preferably has an intake opening, which opens towards one lateral side of a motorcycle body, in which case the supercharger has a suction port directed towards the opposite lateral side of the motorcycle body. According to this structural feature, after the air drawn from one lateral side of the motorcycle body into the air cleaner, after having been substantially purified in the air cleaner unit, comes out of the opposite lateral side of the motorcycle body and does then flow into the suction port of the supercharger, which is directed or opens towards the opposite lateral side of the motorcycle body. Accordingly, the air passage extending from the air cleaner unit to the supercharger is reduced in length and the flow loss can therefore be suppressed.
However, the most interesting thing found while looking at Kawasaki’s patents on supercharging is a filing that was made regarding a variable-gear transmission for an engine supercharger.
Simply titled “engine supercharger drive device” in the patent application, Kawasaki’s design calls for a high-speed and low-speed gearing for the supercharger, which can be changed to spin the supercharger at different ratios to the crankshaft, spending on the speed of the engine’s revolutions.
Kawasaki says this optimizes the supercharger’s pressure for the various ranges of crankshaft rotation — something that could come in handy on say a motorcycle that spools up to 13,000+ rpm. It’s specific provisions and descriptions are as follows:
- The present invention has been devised to substantially eliminate the foregoing problems and inconveniences inherent in the prior art and is intended to provide a supercharger drive device of a type, in which a change gear ratio of the supercharger can be selected in dependence on the number of revolutions, or rotational speed, of the combustion engine.
- In order to accomplish the foregoing object of the present invention, there is provided a supercharger drive device for a combustion engine designed in accordance with the present invention includes a gear carrier shaft operable to rotate in unison with a rotary shaft of the combustion engine, a plurality of speed change gears mounted on the gear carrier shaft, a drive shaft of a supercharger connected directly or indirectly with the speed change gears for rotation, a gear shifter for selecting one of the plural speed change gears to transmit a motive force from the gear carrier shaft to the drive shaft by way of such selected one of the speed change gears, and a shifter drive unit for actuating the gear shifter in dependence on the rotational speed of the combustion engine.
- According to the construction, the shifter drive unit selects one of the speed change gears by actuating the gear shifter in dependence on the rotational speed or the number of revolutions of the combustion engine and, therefore, the rotational speed of the supercharger can be adjusted to an optimum value in dependence on the rotational speed of the combustion engine.
- In a preferred embodiment of the present invention, each of the speed change gears may be a speed-up gear, in which case the shifter drive unit is preferably operable to actuate the gear shifter to select one of the plural speed change gears such that the speed-up ratio becomes low with an increase of the rotational speed of the rotary shaft. This structure makes it possible to provide the optimum speed-up ratio dependent on the rotational speed of the combustion engine.
- In another preferred embodiment of the present invention, the plural speed change gears may include a low speed gear and a high speed gear, both of the low and high speed gears being mounted on the gear carrier shaft for rotation relative to the latter, in which case the gear shifter is interposed between the low speed gear and the high speed gear and mounted on the gear carrier shaft for movement in a direction axially of the gear carrier shaft, but relatively non-rotatable to such gear carrier shaft, whereby upon axial movement of the gear shifter, the latter is selectively engaged with one of the low speed gear and the high speed gear for rotation together therewith.
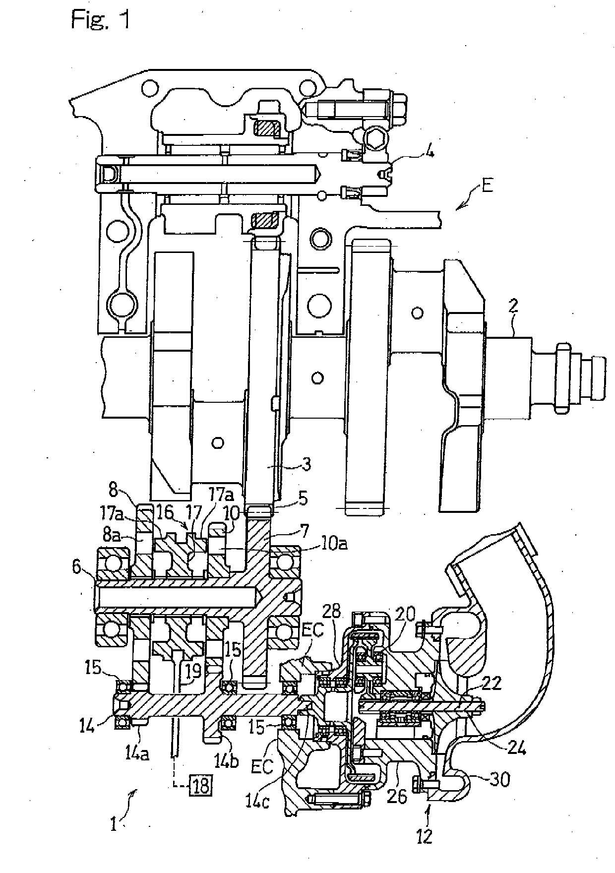
- In a further preferred embodiment of the present invention, the gear carrier shaft may be engaged with a crankshaft gear mounted on the rotary shaft for driving a balancer shaft. According to this structure, the crankshaft gear is concurrently used to drive the supercharger and therefore, an undesirable increase of the number of component parts can be suppressed. Also, the gear carrier shaft, the gear shifter and other components can be arranged with the utilization of the dead space available on one side of the crankshaft remote from the balancer shaft.
- In a still further preferred embodiment of the present invention, the gear carrier shaft may be coupled with a starter through a one-way clutch. According to this structure, a change in engine torque incident to gear shifting can be absorbed by a slide friction taking place in the one-way clutch and therefore, it is possible to avoid a transmission thereof to the supercharger.
- In a yet still further preferred embodiment of the present invention, the supercharger may include the drive shaft, an impeller shaft connected with the drive shaft through a planetary gear assembly, an impeller fixedly mounted on the impeller shaft, a housing for supporting the impeller shaft, and a casing fitted to the housing for enclosing the impeller, the planetary gear assembly being supported by the housing. According to this structure, the supercharger and the planetary gear assembly can be unitized together as a single unit and, therefore, an undesirable increase of assembling steps can be suppressed while an undesirable increase of the number of component parts is also suppressed. Also, since a relatively large speed-up can be obtained due to the use of the planetary gear assembly, a speed increasing machine can be compactized.
We will of course have to wait and see if 1) Kawasaki brings a supercharged model to market, and 2) exactly what technologies that design will encompass. Interesting stuff to mull over until then though.
Source: Google Patents




Comments