News

There Are No Sacred Cows: Harley-Davidson Patents Cylinder Head Cooling System

Google+ Pinterest LinkedIn Tumblr

The rumors that Harley-Davidson has been eying a liquid-cooled motor design have always been in abundance, and 10 years ago we saw the company test the waters of that pool with the Porsche-engineered lump that was found in the V-Rod. While the VRSC line may not have been as big of a success compared to the other models in Harley’s line-up, the water-cooled bastard child of Milwaukee still seems to sell in the tens of thousands each year, even after nearly a decade of only cosmetic revisions.

Faced with an aging demographic, an uninspired motorcycle line-up, and 21 takes on the same motorcycle design, there’s a push internally at Harley-Davidson to break-out and find a new way to engage riders, especially younger riders. The core ethos of change seems to start at the motor itself, and Harley-Davidson has already done the rounds at various electric motorcycle and drivetrain companies. There also exists amount of external and internal pressure over Harley’s pervasive use of air-cooled motors, and now whispers of a water-cooled v-twin power plant have gotten louder in Milwaukee. With those rumors now reaching a boiling point (see what I did there?), Harley-Davidson has patented a very clever way of adding liquid-cooling to its iconic v-twin motor design.

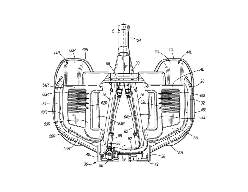
Creating an intricate cylinder head that has channels that liquid coolant can flow through, Harley-Davidson’s shown solution to its air-cooled problem is a very elegant, and clearly centers around hiding the radiators, pumps, and hoses that normally are an eye-sore with liquid-cooled motors. However, it would seem the USPTO has granted Harley a fairly broad patent, which on its face seems to cover any sort of cylinder head cooling system for v-twin motorcycles, which makes this a nice piece of intellectual property for the Bar & Shield.

Putting the radiators in the leg shields of the bike, Harley-Davidson’s solution is to have the piping follow the forward section of the frame, and finally drop down from the fuel tank and into the cylinder heads. Once inside the cylinder, liquid flows around the valve ports before heading back out to be cooled again. With each cylinder head getting its own line of coolant it will be interesting to see if Harley-Davidson implemented any sort of system to account for temperature differences between the forward and rear cylinders.

Of course the bigger part of this news is whether we’ll see a liquid-cooled bike in 2012. Some rumors suggest so, though recent CARB filings haven’t tipped off any such model…yet. Once thought to be an untouchable element in Harley-Davidson design, the fact that the American company has patented this technology suggest that there are no sacred cows in Milwaukee. It will be interesting to see what comes to fruition now from this process.

Source: USPTO via Moto-Infos & Cyril Huse

Comments