Before Ducati’s monocoque chassis design was all the rage in superbike design, the folks at Honda were busy toying with the same idea.
Outlining a patent in 2006 for a motorcycle whose engine would be fully utilized as a part of the chassis, Honda’s design, which differs in minutiae, predates Ducati’s patent by almost a year and a half.
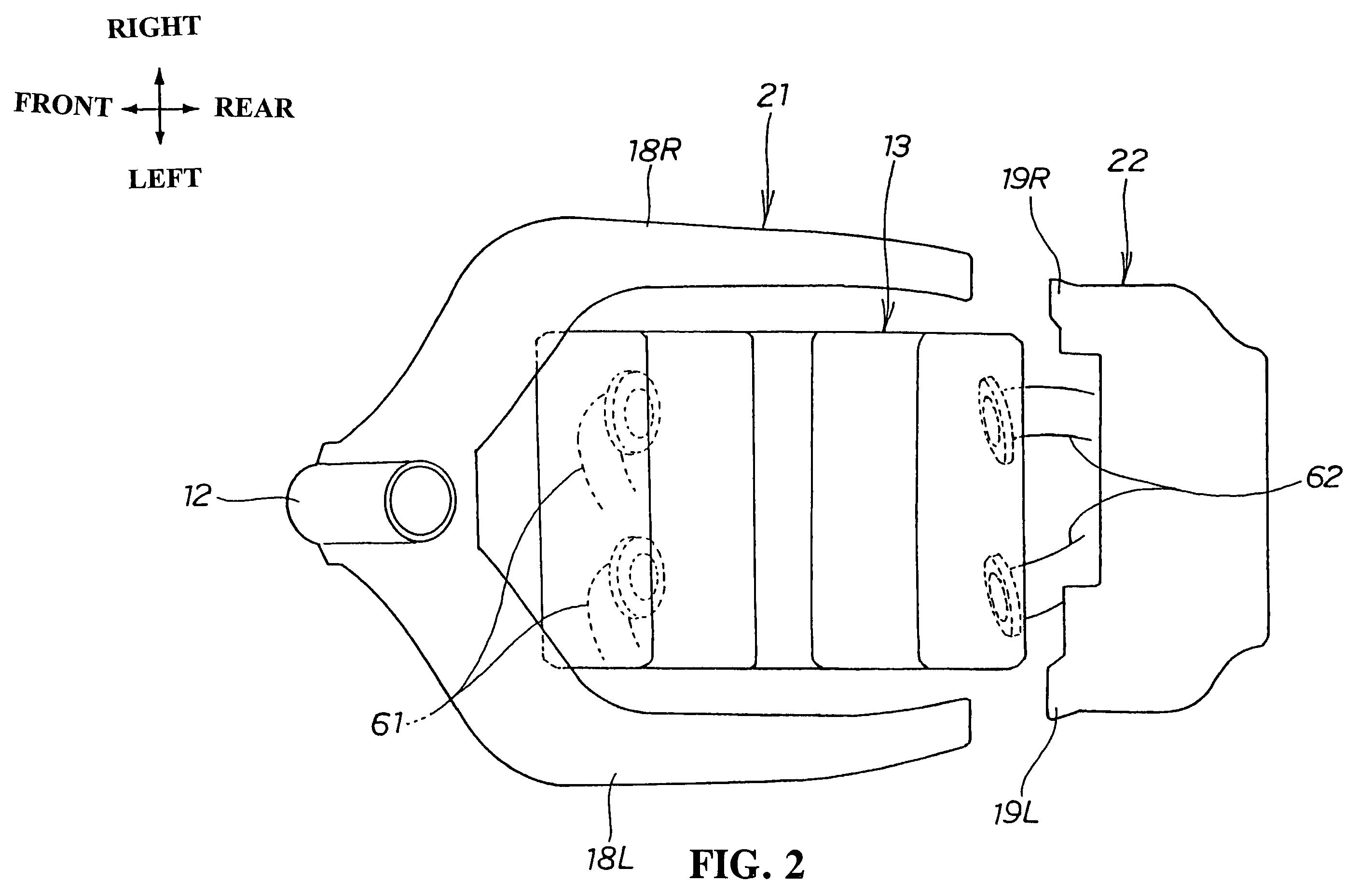
A noticeable departure from Honda’s MotoGP design, one can argue whether Honda’s monocoque chassis was destined for the next iteration of the CBR1000RR or the next generation VFR at the time of its conception.
While the patent covers any amount of cylinder numbers (as long as there is a forward and rear cylinder head), its drawings tip the design for use on V4 and V5 engines, with the headstock attaching to the two cylinder banks, while the seat, tail section, and swingarm attaches lower on the engine, closer to the crankcase and gearbox.
Of note is how Honda’s engine drawing depicts a 90° cylinder V configuration, with the cylinders at equal angles to the plane of the ground. This differs from Ducati’s “L-twin” configuration, where the forward cylinder head is nearly parallel the ground.
These two differences are currently expounded upon by the companies’ two MotoGP packages, and give example to the two different approaches to mounting a monocoque chassis to the stressed engine.
Interestingly enough, Honda’s configuration allows for three mounting points to the engine (Honda calls them “M-shaped” or “W-shaped” mounting projections), compared to Ducati’s two pointing mounts — with three points making a plane, it could explain some possible differences in front-end feeling between the two brands.
With the Honda VFR1200F never getting this chassis design patented here, one has to wonder if/when Honda will use its monocoque design on a production motorcycle (or any motorcycle for that matter).
Could it be part of the much talked about, though regrettably tardy, MotoGP-derived V4 sport bike? Only time will tell, though it would explain part of Honda’s delay in bringing that bike to market. We have already supposedly seen drawings of the bike’s engine, could this be its chassis? Only the engineers at Honda likely know the answer.
Source: Google Patents





Comments