Honda’s road-going V4 superbike project has seemingly stalled, for the umptenth time in the past decade. While the bike has been rumored for years, the project just a year and a half ago was confirmed by Honda CEO Takanobu Ito.
Since that confirmation, the project’s delivery time has been pushed back, thought the Japanese motorcycle manufacturer has committed itself to building the MotoGP-inspired road bike.
With reports speculating on a possible price tag well into the six-figure range, the rumormill is on the rev limiter regarding this superbike, so if there is one thing we actually know about the machine, it is that we don’t actually know much about it.
A 1,000cc displacement is of course expected, along with a four-cylinder v-angle cylinder configuration. If we can presume a setup similar to what is found on the Honda RC213V MotoGP race bike, then make that a 90° cylinder head arrangement.
If we had really been on the ball though, we likely could have told you all this, six months ahead of Ito’s confirmation, as patent documents discovered by Spanish magazine SoloMoto shows the V4 superbike engine in line-drawing form, from as early as March 2012.
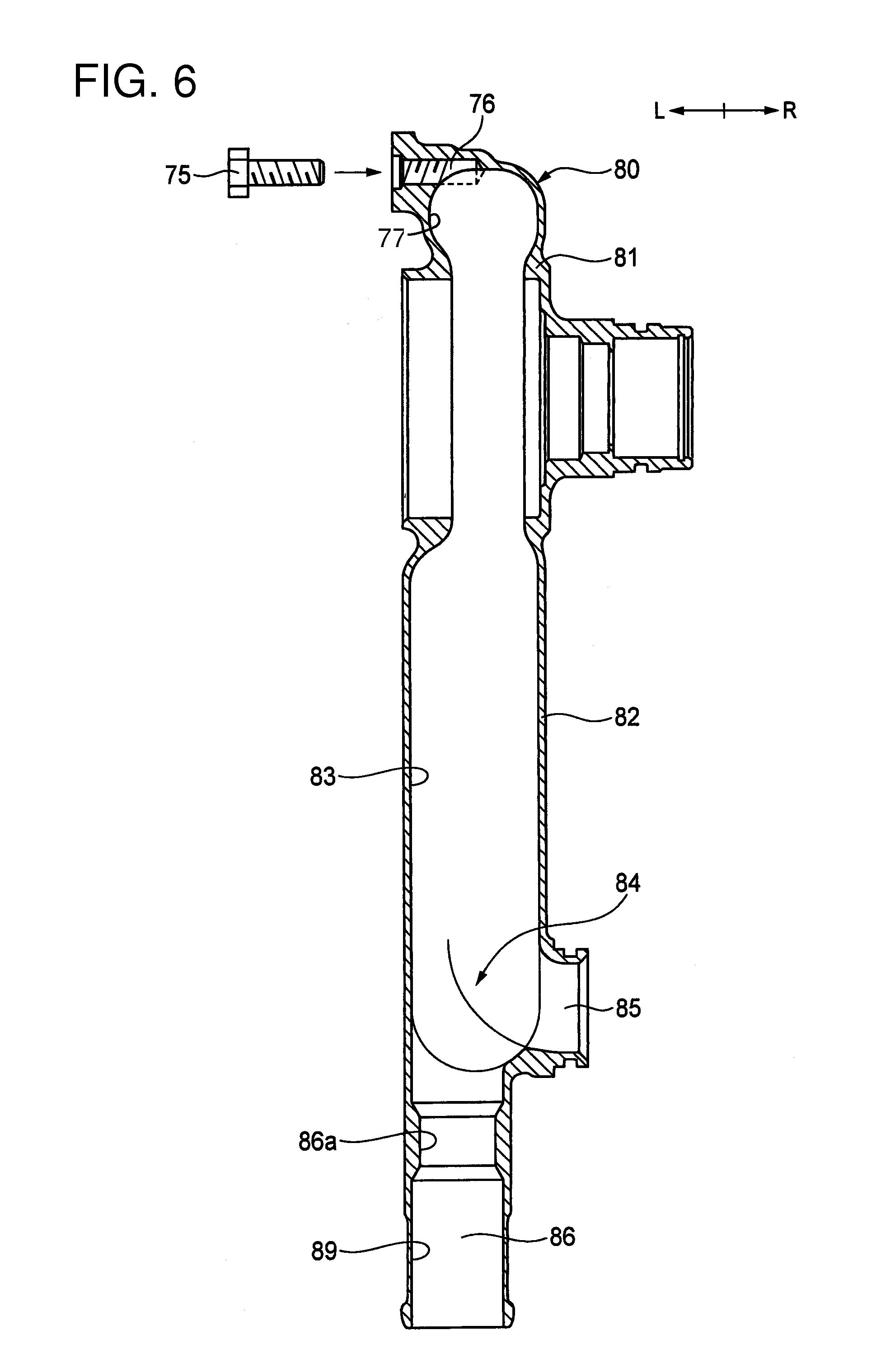
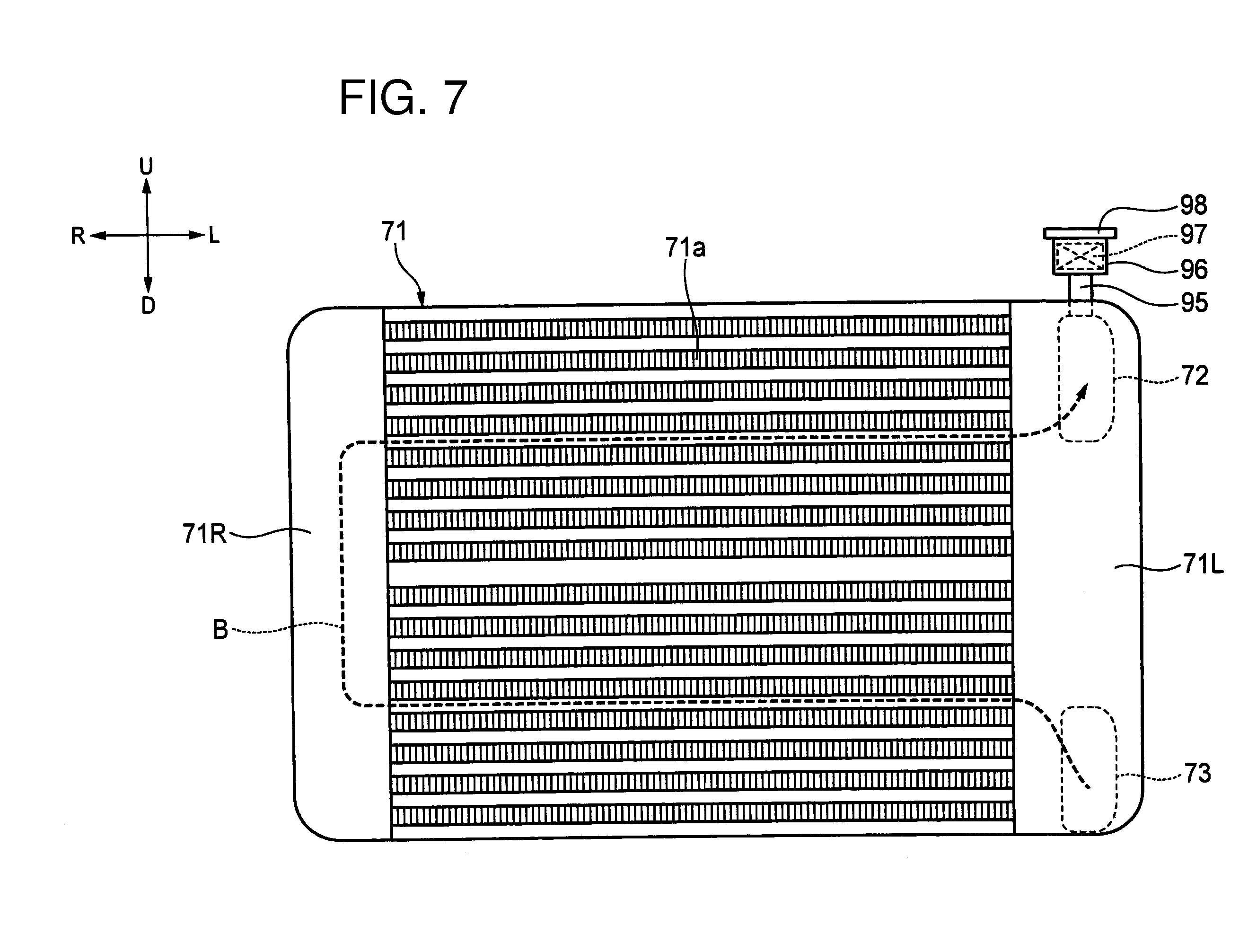
The patent itself focuses primarily on the cooling system used on the V4 engine and motorcycle, where the water pump is driven by the forward cylinder head’s camshaft. Pretty trick stuff for our tuning enthusiasts, though perhaps not as sexy for the mechanically less inclined. However, the accompanying photos should provide some drool fodder.
The short cylinder head height and deep oil belly pan give away the engine’s MotoGP heritage, as both are credited with Honda being able to wedge its V4 engine into the company’s GP chassis with more effect than say Ducati has shown.
The forward cylinder head is also pointed upward, almost at a 45° angle, which betrays any idea of an L-twin configuration, which is found on many Ducati road bikes.
Expected to put well north of 200hp at the crank, many see this eagerly anticipated superbike as just a watered down version of the Honda RCV1000R “Open Category” race bike, which itself is a watered down version of the Honda RC213V “Factory Option” machine.
Will this engine power a “homologation special” road bike for World Superbike, now that production limits have been cut in half? Only time will tell. One thing is for sure, the Honda CBR1000RR is long overdue for an update.
Source: Google Patents via SoloMoto



Comments